Например TDA7294

Форум РадиоКот • Просмотр темы - Варикап кв109
Форум РадиоКот
Здесь можно немножко помяукать :)

Текущее время: Ср дек 17, 2025 16:55:29

Часовой пояс: UTC + 3 часа


ПРЯМО СЕЙЧАС:



Начать новую тему Ответить на тему  [ Сообщений: 304 ]     ... , , , 13, , ,  
Автор Сообщение
Не в сети
 Заголовок сообщения: Re: Варикап кв109
СообщениеДобавлено: Сб дек 06, 2025 21:54:00 
Друг Кота

Карма: -1
Рейтинг сообщений: 86
Зарегистрирован: Вт мар 13, 2012 12:16:13
Сообщений: 8874
Откуда: .ru
Рейтинг сообщения: 1
опять куча ошибок на схеме...

я же сказал... в идеале надо на все каскады отдельно фильтры по питанию...

1. отдельно фильтр по питанию детектора.
2. отдельно фильтр по питанию упч на транзисторе.
3. отдельно фильтр по питанию смесителя.
4. отдельно фильтр по питанию увч.

Изображение

Добавлено after 4 minutes 55 seconds:
я же сказал... питание на варикапы надо подавать через фильтр...
сначала идёт резистор потом конденсатор - получается RC-фильтр.
все резисторы по 100 кОм.
так сделано во всех заводских приёмниках.

Изображение

Добавлено after 5 minutes 50 seconds:
упч на транзисторе лучше делать с автосмещением...
автосмещение - это резистор между коллектором и базой.

и не нужны там никакие цепочки из резисторов и конденсаторов...
входное сопротивление открытого транзистора и так маленькое...
цепочки из резисторов и конденсаторов будут просто гасить сигнал... в итоге только хуже будет.

Изображение

Добавлено after 13 minutes 25 seconds:
АПЧ без смещения варикапа работать будет плохо (слабо).

график варикапа вот такой.
чтобы АПЧ нормально работало нужно начальное смещение на варикапе (обычно около 1 вольт)...
начальное смещение нужно чтобы варикап АПЧ работал на крутом участке...
тогда АПЧ будет работать хорошо (сильно).

Изображение

и подключать варикап АПЧ наверное лучше не к контуру а к выводу 8 микросхемы смесителя...
хотя тут надо уточнить по даташиту как там устроен гетеродин в этой микросхеме...
:roll:

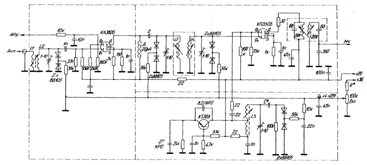
с учётом всего выше сказанного у меня получилась вот такая схема...
чётко видно что все блоки у меня имеют свой фильтр по питанию...
варикап АПЧ с начальным смещением и работает на крутом участке...
и т.д.

Изображение

:tea:


Вложения:
Screenshot_0.jpg [37.28 KiB]
Скачиваний: 291
5.jpg [16.79 KiB]
Скачиваний: 296
3.jpg [45.45 KiB]
Скачиваний: 305
2.jpg [37.93 KiB]
Скачиваний: 308
1.jpg [43.87 KiB]
Скачиваний: 318


Последний раз редактировалось roman.com Сб дек 06, 2025 21:58:06, всего редактировалось 1 раз.
Вернуться наверх
 
Не в сети
 Заголовок сообщения: Re: Варикап кв109
СообщениеДобавлено: Сб дек 06, 2025 21:56:19 
Открыл глаза
Аватар пользователя

Зарегистрирован: Пт авг 15, 2025 08:28:19
Сообщений: 69
Рейтинг сообщения: 0
Я не считал, на макетах оценивал методом замещения усилителя резисторами

Так штоль:
Изображение
или как?


Вернуться наверх
 
Не в сети
 Заголовок сообщения: Re: Варикап кв109
СообщениеДобавлено: Сб дек 06, 2025 23:11:31 
Друг Кота

Карма: -1
Рейтинг сообщений: 86
Зарегистрирован: Вт мар 13, 2012 12:16:13
Сообщений: 8874
Откуда: .ru
Рейтинг сообщения: 0
измерить входное сопротивление УВЧ (как и любое другое сопротивление например сопротивление антенны или сопротивление усилителя мощности) в радиостанции очень просто))
достаточно замкнуть выход передатчика со входом приёмника... и далее посчитать по тестеру...
это называется "метод эквивалента".

Изображение

сопротивление УВЧ у меня получилось порядка 30...40 Ом

при полном включении контура получаем широкую полосу входного контура приёмника...
на FM 88...108 получим полосу несколько десятков мегагерц))
но это и не важно. т.к. входной контур приёмника осуществляет ПРЕДВАРИТЕЛЬНУЮ селекцию.
а основную селекцию мы получаем на выходе УВЧ.
:tea:
а зато получаем максимальную чувствительность.
т.к. практически весь сигнал с антенны поступает на транзистор УВЧ... и мы не теряем драгоценные микровольты))
:tea:


Вложения:
рис 1.jpg [87.28 KiB]
Скачиваний: 276
Вернуться наверх
 
Не в сети
 Заголовок сообщения: Re: Варикап кв109
СообщениеДобавлено: Сб дек 06, 2025 23:12:40 
Друг Кота
Аватар пользователя

Карма: 26
Рейтинг сообщений: 818
Зарегистрирован: Сб янв 28, 2006 22:47:24
Сообщений: 5696
Рейтинг сообщения: 1
Kapitoska, даже проще делал. Отключал от контура УВЧ и вместо него подключал резисторы, подбирая такой при котором напряжение на контуре и его полоса пропусканию совпадут с теми что были с подключенным усилителем. Контролировал измерителем АЧХ. Очень низкие значения получались, около 30 Ом для КТ368 и S9018.

но это и не важно. т.к. входной контур приёмника осуществляет ПРЕДВАРИТЕЛЬНУЮ селекцию.

Важно. В отсутствии согласования теряем в передаче мощности полезного сигнала.

_________________
Астролябия-сама меряет, было бы что мерять!!!


Вернуться наверх
 
Эиком - электронные компоненты и радиодетали
Не в сети
 Заголовок сообщения: Re: Варикап кв109
СообщениеДобавлено: Вс дек 07, 2025 00:13:12 
Друг Кота

Карма: -1
Рейтинг сообщений: 86
Зарегистрирован: Вт мар 13, 2012 12:16:13
Сообщений: 8874
Откуда: .ru
Рейтинг сообщения: 1
-входное сопротивление приёмника 30...40 Ом.
-измеренное сопротивление антенны (штырь четверть волны) совпадает со справочными данными и составляет 36 Ом.
таким образом антенна довольно хорошо согласуется со входом приёмника. и мы практически ничего не теряем.
:tea:

Добавлено after 41 minute 36 seconds:
вообще... схемы с непосредственной связью антенны с входным контуром приёмника больше подходят для радиостанций... для которых чувствительность это один из важнейших параметров. т.к. часто радиостанции работают на пределе своей чувствительности и разница даже в десятые доли микровольт на слух уже становятся заметны.
:tea:
с другой стороны схемы с непосредственной связью антенны с входным контуром приёмника больше подвержены промышленным помехам... даже неправильное расположение трансформатора может быть заметно в виде фона в динамике 50 герц))
поэтому такие схемы больше подходят для портативных приёмников с короткими антеннами...
:roll:
с другой стороны если у нас большая полноразмерная антенна... да ещё на крыше... да ещё с длинным кабелем... то атм уровень промышленных помех ещё больше...

Изображение

в этом случае я бы рекомендовал схемы с трансформаторной связью с входным контуром...

Изображение

благодаря трансформаторной связи мы получаем дополнительный бонус - гальваническую развязку антенны и транзистора УВЧ...
в таких схемах фон в динамике 50 герц отсутствует полностью...
но такие схемы имеют чуть меньшую чувствительность... поэтому они больше подходят для города... с большими антеннами... с хорошим уровнем сигнала... и высоким уровнем промышленных помех... в частности если рядом высоковольтные линии электро передач... и т.д.))
также не забываем про атмосферное электричество... которое образуется на внешней антенне в сильный дождь... туман... и т.д.
всё это влияет на качество приёма...
трансформаторная связь с такими помехами справляется лучше.
поэтому трансформаторную связь используют в приёмниках первого класса... с высоким качеством приёма.
:tea:


Вложения:
)).jpg [23.25 KiB]
Скачиваний: 254
Вернуться наверх
 
Не в сети
 Заголовок сообщения: Re: Варикап кв109
СообщениеДобавлено: Вс дек 07, 2025 05:29:39 
Друг Кота
Аватар пользователя

Карма: 26
Рейтинг сообщений: 818
Зарегистрирован: Сб янв 28, 2006 22:47:24
Сообщений: 5696
Рейтинг сообщения: 1
-входное сопротивление приёмника 30...40 Ом.
-измеренное сопротивление антенны (штырь четверть волны) совпадает со справочными данными и составляет 36 Ом.
таким образом антенна довольно хорошо согласуется со входом приёмника. и мы практически ничего не теряем.
Речь о согласовании контура с входом УВЧ.

_________________
Астролябия-сама меряет, было бы что мерять!!!


Вернуться наверх
 
Не в сети
 Заголовок сообщения: Re: Варикап кв109
СообщениеДобавлено: Вс дек 07, 2025 12:29:29 
Друг Кота

Карма: -1
Рейтинг сообщений: 86
Зарегистрирован: Вт мар 13, 2012 12:16:13
Сообщений: 8874
Откуда: .ru
Рейтинг сообщения: 0
Контур не надо согласовывать с УВЧ...
С физической точки зрения это бессмыслица какая-то))
:))
Согласовывать надо источник сигнала (в нашем случае антенна) с нагрузкой (в нашем случае приёмник).
Это имеет физический смысл.
:tea:


Вернуться наверх
 
Не в сети
 Заголовок сообщения: Re: Варикап кв109
СообщениеДобавлено: Вс дек 07, 2025 13:04:28 
Мудрый кот

Карма: 25
Рейтинг сообщений: 487
Зарегистрирован: Сб май 05, 2012 20:24:52
Сообщений: 1801
Откуда: KN34PC, Болгария
Рейтинг сообщения: 0
Вы правы. Но со случайной антенной - согласование случайное :). Поэтому входы рассчитаны на фиксирован импеданс.
И то, что будет использоваться как напр. антенна, тоже случайно.

С появлением современных измерители - "волшебства" в радио стало меньше :).
NWT-500, NanoVNA ...

Моя тестовая комнатная проволочная антенна. Пользуюсь ей уже 6-8 лет :).
Длина: (уже) около 85 см (укорочил 2-3 раза из-за поломки около штифтом), рабочее положение: в растянутом состоянии.
Крепление: привязывание конца к окружающим предметам 8) .

Изображение,
Изображение


Вернуться наверх
 
Не в сети
 Заголовок сообщения: Re: Варикап кв109
СообщениеДобавлено: Пн дек 08, 2025 20:02:52 
Нашел транзистор. Понюхал.

Зарегистрирован: Ср апр 17, 2024 20:24:19
Сообщений: 158
Откуда: Курская область,
Рейтинг сообщения: 0
Нет опыта работы с полевыми транзисторами , можно ли заставить работать такой усилитель от 3 вольт.

Изображение


Вернуться наверх
 
Не в сети
 Заголовок сообщения: Re: Варикап кв109
СообщениеДобавлено: Пн дек 08, 2025 20:24:34 
Друг Кота

Карма: -1
Рейтинг сообщений: 86
Зарегистрирован: Вт мар 13, 2012 12:16:13
Сообщений: 8874
Откуда: .ru
Рейтинг сообщения: 0
с полевыми транзисторами ничего сложного нет))
сам полевой транзистор работает как радиолампа...
главное отличие полевого транзистора от биполярного в режиме работы по постоянному току... а конкретно том что полевому транзистору не нужно подавать начальное смещение на затвор как биполярному на базу...
у полевого транзистора даже если затвор на массе то ток через полевой транзистор всё равно проходит. т.е. полевой транзистор открыт по умолчанию без начального смещения на затворе. точно так же как в радиолампе))
а чтобы закрыть полевой транзистор на затвор надо подать минус.
обычно делают автосмещение... т.е. включают в исток резистор чтобы на истоке было положительное напряжение относительно затвора.
вот и вся разница))
:tea:
от 3-х вольт должно работать...
только режим наверное надо будет работы подобрать... т.е. выставить начальный ток... а может и нет)) надо смотреть на месте...
не помню... давно не работал с полевыми транзисторами))

вот заводская схема на полевых транзисторах...

Изображение

практически ничем не отличается от схемы на биполярных...))
:tea:

да... ещё у полевого транзистора большое входное сопротивление... как у радиолампы...


Вернуться наверх
 
Не в сети
 Заголовок сообщения: Re: Варикап кв109
СообщениеДобавлено: Пн дек 08, 2025 20:58:18 
Нашел транзистор. Понюхал.

Зарегистрирован: Ср апр 17, 2024 20:24:19
Сообщений: 158
Откуда: Курская область,
Рейтинг сообщения: 0
с полевыми транзисторами ничего сложного нет))
Посмотрел на Али очень сложно их купить, цены конские, так ,что наверно не удастся испытать.


Вернуться наверх
 
Не в сети
 Заголовок сообщения: Re: Варикап кв109
СообщениеДобавлено: Пн дек 08, 2025 21:10:49 
Друг Кота
Аватар пользователя

Карма: 26
Рейтинг сообщений: 818
Зарегистрирован: Сб янв 28, 2006 22:47:24
Сообщений: 5696
Рейтинг сообщения: 1
Александр 62, посмотрите в ЧиД. Там современные smd полевые транзисторы по 20-40 руб были, превосходящие КП303/307 по всем параметрам. И двухзатворные попадались совсем недорого.

КП303 и КП307 использовал в УВЧ радиоприемников 27 МГц, и в радиовещательных 88-108. Результаты были прекрасные, но только при питании 9-12 вольт, что позволяло установить рекомендованные напряжения и ток стока. Боюсь, при 3 вольтах от них мало толку будет.

_________________
Астролябия-сама меряет, было бы что мерять!!!


Вернуться наверх
 
Не в сети
 Заголовок сообщения: Re: Варикап кв109
СообщениеДобавлено: Пн дек 08, 2025 21:14:19 
Мудрый кот

Карма: 25
Рейтинг сообщений: 487
Зарегистрирован: Сб май 05, 2012 20:24:52
Сообщений: 1801
Откуда: KN34PC, Болгария
Рейтинг сообщения: 1
Есть BF998 - двухзатворные. Попробуйте, лучше будет. Хех, с их (BF964 ..) я в "машине времени" из 1993-6 году и много бессонных ночей :).
Но теперь такой тюнер никому не нужен. Радио работает со всем ел. комп. Местные передатчики мощные, очень мощные.


Вернуться наверх
 
Не в сети
 Заголовок сообщения: Re: Варикап кв109
СообщениеДобавлено: Пн дек 08, 2025 21:40:52 
Друг Кота

Карма: -1
Рейтинг сообщений: 86
Зарегистрирован: Вт мар 13, 2012 12:16:13
Сообщений: 8874
Откуда: .ru
Рейтинг сообщения: 1
в своё время ковырял УВЧ на полевых транзисторах...

Изображение

КП307...

Изображение

затем сравнил работу полевых транзисторов с биполярными КТ368...

Изображение

какой либо заметной разницы я не заметил)) и те и те работают... и те и те шумят одинаково...
:dont_know:

не знаю у кого на 27 мгц полевые транзисторы работают лучше... у меня всё одинаково))
на 27 мгц прекрасно работают даже КТ315 )) потом заменил на КТ368... на 27 мгц разницы нет))

и только с повышением частоты до 144 мгц разница КТ315 и КТ368 стала заметна... КТ368 работает лучше.
оно и понятно потому что у КТ315 рабочая частота до 250 мгц а у КТ368 рабочая частота до 600 мгц.
поэтому и заметно))
:tea:

сейчас у меня в FM приёмнике стоит С9018 рабочая частота до 1100 мгц поэтому работает ещё лучше))
прям слышно по шумам как работает УВЧ...
:tea:

итого: покупать старые полевые транзисторы не вижу никакого смысла.
лучше поставить нормальный высокочастотный (с большим запасом по частоте) биполярный транзистор и получим хороший усилитель.
:tea:


Последний раз редактировалось roman.com Пн дек 08, 2025 21:51:01, всего редактировалось 1 раз.

Вернуться наверх
 
Не в сети
 Заголовок сообщения: Re: Варикап кв109
СообщениеДобавлено: Пн дек 08, 2025 21:48:21 
Друг Кота
Аватар пользователя

Карма: 26
Рейтинг сообщений: 818
Зарегистрирован: Сб янв 28, 2006 22:47:24
Сообщений: 5696
Рейтинг сообщения: 0
на 27 мгц прекрасно работают даже КТ315 )) потом заменил на КТ368... на 27 мгц разницы нет))

Значит в схеме присутствовали косяки сведшие на нет все преимущества КТ368.

_________________
Астролябия-сама меряет, было бы что мерять!!!


Вернуться наверх
 
Не в сети
 Заголовок сообщения: Re: Варикап кв109
СообщениеДобавлено: Пн дек 08, 2025 22:10:37 
Друг Кота

Карма: -1
Рейтинг сообщений: 86
Зарегистрирован: Вт мар 13, 2012 12:16:13
Сообщений: 8874
Откуда: .ru
Рейтинг сообщения: 0
у меня в схеме нет косяков.
схема выше.
:tea:

Добавлено after 18 minutes 43 seconds:
последний раз встречал УВЧ на полевиках... в старых радиотелефонах))

Изображение

в китайских FM приёмниках... не видел))

у них те же частоты 30 мгц... но чувствительность чуть выше чем на транзисторах... хотя разница составляла сотые доли микровольт... но всё таки по ГСС заметно.
но чувствительность в старых радиотелефонах выше не за счёт УВЧ а за счёт низкого шума смесителя, упч и детектора...
поэтому я и говорю... что одним УВЧ вы чувствительность не поднимите... в приёмнике важно всё... приёмники надо рассматривать в комплексе)) тогда будет и чувствительность и качество высокое.
:tea:


Вложения:
Screenshot_4.jpg [75.91 KiB]
Скачиваний: 121
Вернуться наверх
 
Не в сети
 Заголовок сообщения: Re: Варикап кв109
СообщениеДобавлено: Пн дек 08, 2025 22:28:03 
Мудрый кот

Карма: 25
Рейтинг сообщений: 487
Зарегистрирован: Сб май 05, 2012 20:24:52
Сообщений: 1801
Откуда: KN34PC, Болгария
Рейтинг сообщения: 0
Чувствительность - это не все. Установите антенну, хотя бы диполь на УКВ, на высоте напр. не менее 30 метров от земли. С некоторыми ел. компонентами в ЧМ диапазоне будут приниматься только местные станции (биполярные транзисторы), с другими (полевые транзисторы и особенно: двухзатворые транзисторы) будет + слабые, например, с 70 km. Динамический диапазон будет важен после того, как откажетесь от проволочных антенн и перейдете на настоящую антенну для диапазона. Хоть 88-108 MHz, хоть 27 MHz, хоть КВ ...

На самом деле, в ~1600 метрах от радиоцентра с УКВ на биполярном транзисторе по входу (УВЧ или только смеситель ОБ), в любой настройке, я не могу слушать с полностью выдвинутым ЧМ антенной. Японское радио, китайское, советское, болгарское - не имеет значения. Всe из ефира смешивается. Уровень мощности передатчиков - их много и PA >= 3 kW.

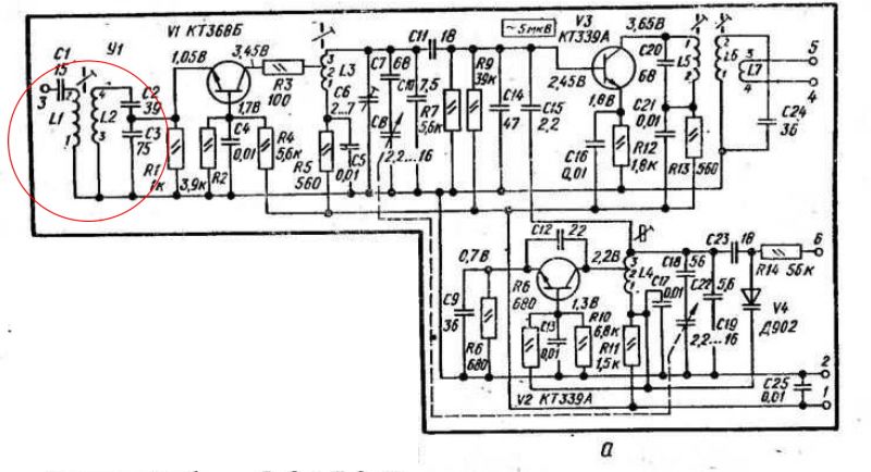
Мой отбор схем в прошлом начался с ЧМ-приемника с тюнером на двухзатворным транзисторах. (Старая концепция, уже есть более совершенные. Но в далеком прошлом это било начало оценки динамического диапазона приемников).

ж. "Радио, телевизия, електроника" 8/1985
тунер на BF964, BF173 + буфер, КВС111А + частотомер F-10,7 из автомобильного радиоприемника
Расстояние между L3 и L4 составляет у меня 10 mm :).
С КП350Б у меня не получилось - сгорели статикой при пайке :). Таким и осталось воспоминание об этих транзисторах.

Изображение


Вернуться наверх
 
Не в сети
 Заголовок сообщения: Re: Варикап кв109
СообщениеДобавлено: Вт дек 09, 2025 00:50:34 
Друг Кота

Карма: -1
Рейтинг сообщений: 86
Зарегистрирован: Вт мар 13, 2012 12:16:13
Сообщений: 8874
Откуда: .ru
Рейтинг сообщения: 0
схема хорошая... все контура перестраиваются... хорошее подавление внеполосных сигналов...
полевые транзисторы с изолированным затвором имеют большое входное сопротивление поэтому можно подключать к контуру напрямую...
:tea:
но мне больше нравится на биполярных транзисторах.))

Изображение

:tea:
а для тех у кого рядом мощный передатчик можно поставить аттенюатор... как в старом телевизоре... было два антенных входа напрямую 1:1 и с делителем 1:10...

Изображение

:tea:


Вложения:
Screenshot_4.jpg [57 KiB]
Скачиваний: 95
Вернуться наверх
 
Не в сети
 Заголовок сообщения: Re: Варикап кв109
СообщениеДобавлено: Вт дек 09, 2025 00:58:50 
Мудрый кот

Карма: 25
Рейтинг сообщений: 487
Зарегистрирован: Сб май 05, 2012 20:24:52
Сообщений: 1801
Откуда: KN34PC, Болгария
Рейтинг сообщения: 0
... а для тех у кого рядом мощный передатчик можно поставить аттенюатор ...

... и слабые станции становятся еще слабее :) (с коэффициентом затухания аттенюатора). И их "теряешь" (а они были самыми интересными).

Но если меняешь радио (с биполярными транзисторами) на РАДИО (с двухзатворными транзисторами), то чувствуешь, что приобрел /и потерял раньше/. (И больше никогда не возвращаешься к первому радио :P).


Вернуться наверх
 
Не в сети
 Заголовок сообщения: Re: Варикап кв109
СообщениеДобавлено: Вт дек 09, 2025 12:30:02 
Друг Кота

Карма: -1
Рейтинг сообщений: 86
Зарегистрирован: Вт мар 13, 2012 12:16:13
Сообщений: 8874
Откуда: .ru
Рейтинг сообщения: 0
никогда не делал смесителей на двухзатворных транзисторах... хотя часто видел... поэтому подробности рассказать не могу))
но судя по физике процесса... работать должно лучше чем на однозатворном))
не знаю... когда сделаю расскажу подробнее...
:tea:


Вернуться наверх
 
Показать сообщения за:  Сортировать по:  Вернуться наверх
Начать новую тему Ответить на тему  [ Сообщений: 304 ]     ... , , , 13, , ,  

Часовой пояс: UTC + 3 часа


Кто сейчас на форуме

Сейчас этот форум просматривают: нет зарегистрированных пользователей и гости: 26


Вы не можете начинать темы
Вы не можете отвечать на сообщения
Вы не можете редактировать свои сообщения
Вы не можете удалять свои сообщения
Вы не можете добавлять вложения

Найти:
Перейти:  


Powered by phpBB © 2000, 2002, 2005, 2007 phpBB Group
Русская поддержка phpBB
Extended by Karma MOD © 2007—2012 m157y
Extended by Topic Tags MOD © 2012 m157y