Например TDA7294

Форум РадиоКот • Просмотр темы - Не работает Источник постоянного тока Б5-47
Форум РадиоКот
Здесь можно немножко помяукать :)

Текущее время: Вт дек 16, 2025 17:06:52

Часовой пояс: UTC + 3 часа


ПРЯМО СЕЙЧАС:



Начать новую тему Ответить на тему  [ Сообщений: 581 ]     ... , , , 29,  
Автор Сообщение
Не в сети
 Заголовок сообщения: Re: Не работает Источник постоянного тока Б5-47
СообщениеДобавлено: Вс ноя 23, 2025 15:54:30 
Собутыльник Кота

Карма: 11
Рейтинг сообщений: 50
Зарегистрирован: Вт окт 30, 2007 20:53:15
Сообщений: 2776
Откуда: Россия,Челябинск
Рейтинг сообщения: 0
Впоследствии в армянских блоках ПЭВР исключили, но почему-то вместе с заменой транзисторов на КТ840. В горьковских он был от начала и до конца производства блоков.

_________________
А где наш начальник транспортного цеха?


Вернуться наверх
 
Не в сети
 Заголовок сообщения: Re: Не работает Источник постоянного тока Б5-47
СообщениеДобавлено: Пн ноя 24, 2025 17:30:54 
Родился

Зарегистрирован: Чт мар 27, 2025 10:28:40
Сообщений: 7
Рейтинг сообщения: 0
На сегодня источник Б5-47 должен выглядеть так:


Вложения:
47_4.jpg [158.61 KiB]
Скачиваний: 41
47_мини.jpg [144.06 KiB]
Скачиваний: 38
Вернуться наверх
 
Не в сети
 Заголовок сообщения: Re: Не работает Источник постоянного тока Б5-47
СообщениеДобавлено: Вт ноя 25, 2025 11:11:38 
Опытный кот

Карма: 3
Рейтинг сообщений: 137
Зарегистрирован: Пн июн 07, 2010 22:56:01
Сообщений: 853
Откуда: SU
Рейтинг сообщения: 0
pptaa,
а что за импульник поставили ?


Вернуться наверх
 
Не в сети
 Заголовок сообщения: Re: Не работает Источник постоянного тока Б5-47
СообщениеДобавлено: Вт ноя 25, 2025 22:56:34 
Опытный кот

Карма: 3
Рейтинг сообщений: 137
Зарегистрирован: Пн июн 07, 2010 22:56:01
Сообщений: 853
Откуда: SU
Рейтинг сообщения: 0
Ryukenden,
сегодня продолжил менять силовые ключи))
Оптимизировал проводку, резистор и диод, которые рядом с ключами примпаял прямо к самим транзисторам 13007, благодаря чему стало чуть меньше проводов
Диоды поставил смд US2M быстрые на 1000в 75нС (поставил то что было ))) В АТХ БП стоят FR107..

фото
Изображение

Решил снять осцилограммы... в итоге получилось инетерсное
оказалось что частота преобразования 3кГц а период следования пачек 2мс.. странно.. В документации риусуют 5кГц и 4мс
хм Может в первых версиях были такие параметры преобразователя ? а когда поставили кт840 их поменяди на 5кГц и 4мс ?

осцилограммы
Изображение Изображение

в некоторых режимах наблюдается звон между Э-Б ключа (сила была запитана от ЛБП 100В) вот картинка
Изображение
и дальше возник вопрос, есть 2 типа обвязки Э-Б ключа, с диодом и кондером и с 2-мя диодами (все расположено на плате Модулятора)
может мне после замены кт809 на 13007 нужно так же сменить обвязку, на вариант с 2-мя диодами ? он идет в паре с кт840

фото платы модулятора
Изображение
я его ранее показывал уже
Далее симметрирующий резистор... тоже подключен был странно, крайня точка и ползунок были подключены к транзисторам, а другая крайняя точка подключена к импульсному трансу...


Вернуться наверх
 
Эиком - электронные компоненты и радиодетали
Не в сети
 Заголовок сообщения: Re: Не работает Источник постоянного тока Б5-47
СообщениеДобавлено: Ср ноя 26, 2025 02:04:16 
Собутыльник Кота

Карма: 11
Рейтинг сообщений: 50
Зарегистрирован: Вт окт 30, 2007 20:53:15
Сообщений: 2776
Откуда: Россия,Челябинск
Рейтинг сообщения: 0
Действительно, странное включение резистора...
Вам проще найти блок поздних выпусков, где уже поменяли обвязку.

_________________
А где наш начальник транспортного цеха?


Вернуться наверх
 
Не в сети
 Заголовок сообщения: Re: Не работает Источник постоянного тока Б5-47
СообщениеДобавлено: Ср ноя 26, 2025 09:49:57 
Опытный кот

Карма: 3
Рейтинг сообщений: 137
Зарегистрирован: Пн июн 07, 2010 22:56:01
Сообщений: 853
Откуда: SU
Рейтинг сообщения: 0
Вам проще найти блок поздних выпусков, где уже поменяли обвязку.


Такой у меня есть на кт840 и кт825, но распиновка всех плат не совпадает, переткнуть не получится...
Сегодня про анализирую разные версии схем модуляторов ... и сами платы ... А дельше будет видно


Вернуться наверх
 
Не в сети
 Заголовок сообщения: Re: Не работает Источник постоянного тока Б5-47
СообщениеДобавлено: Ср ноя 26, 2025 09:52:42 
Собутыльник Кота

Карма: 11
Рейтинг сообщений: 50
Зарегистрирован: Вт окт 30, 2007 20:53:15
Сообщений: 2776
Откуда: Россия,Челябинск
Рейтинг сообщения: 0
Да. И распиновка не совпадает, и размеры разные. А схема этой платы, кроме введения 4 диодов и отмены прежних цепочек, одна.

_________________
А где наш начальник транспортного цеха?


Вернуться наверх
 
Не в сети
 Заголовок сообщения: Re: Не работает Источник постоянного тока Б5-47
СообщениеДобавлено: Чт ноя 27, 2025 09:41:46 
Опытный кот

Карма: 3
Рейтинг сообщений: 137
Зарегистрирован: Пн июн 07, 2010 22:56:01
Сообщений: 853
Откуда: SU
Рейтинг сообщения: 0
Поковырялся с платой модулятора
Изначально не понравилась форма сигнала на генераторе прямоугольников на транзисторах Т3 Т4 , нижняя часть была с искажениями...
в итоге оказалось, что причина искажения, в деградировавшем транзисторе Т3 КТ646А. замерил h21 у T3=20 T4=40.. ... Т3 под замену..
Временно заменил Т3 Т4 на 2N5551 и форма сигнала стала правильными прямоугольниками...
Пока ковырялся заметил, генератор прямоугольников может работать даже с одним транзистором Т3 или Т4 с искаженной формой))
Так же оказалось, что времязадающий С7 стоял в 2 раза большей емкости .. но маркировка на КМ-ке была стерта... заменил, чтоб частота стала по больше .... А то в доках пишут 5кГц а у меня 3,2кГц было ..

И по пискам... похоже основной источник писков, это не силовой транс. а трансики на плате модулятора...

В сборе еще блок не проверял ..


Вернуться наверх
 
Не в сети
 Заголовок сообщения: Re: Не работает Источник постоянного тока Б5-47
СообщениеДобавлено: Чт ноя 27, 2025 09:43:29 
Собутыльник Кота

Карма: 11
Рейтинг сообщений: 50
Зарегистрирован: Вт окт 30, 2007 20:53:15
Сообщений: 2776
Откуда: Россия,Челябинск
Рейтинг сообщения: 0
Кстати, дроссель тоже звучит. Типа как.

_________________
А где наш начальник транспортного цеха?


Вернуться наверх
 
Не в сети
 Заголовок сообщения: Re: Не работает Источник постоянного тока Б5-47
СообщениеДобавлено: Чт ноя 27, 2025 09:54:17 
Опытный кот

Карма: 3
Рейтинг сообщений: 137
Зарегистрирован: Пн июн 07, 2010 22:56:01
Сообщений: 853
Откуда: SU
Рейтинг сообщения: 0
и еще забыл спросить
на фото колесико от крутилок из Б5-47
Изображение

на нем все нужные контактики, или несколько отвалилось ?
я его установил, но цифры 6 и 7 не работали, само колесико из крутилки, которая устанавливала цифры 0,1,2 .. В нем я отломил стоппер, чтобы задействовать все цифры


Вернуться наверх
 
Не в сети
 Заголовок сообщения: Re: Не работает Источник постоянного тока Б5-47
СообщениеДобавлено: Чт ноя 27, 2025 10:15:43 
Собутыльник Кота

Карма: 11
Рейтинг сообщений: 50
Зарегистрирован: Вт окт 30, 2007 20:53:15
Сообщений: 2776
Откуда: Россия,Челябинск
Рейтинг сообщения: 0
Видимо, потому и работает только на старший разряд. Для того чтобы 6,7 работали, должно быть соединение 4+2 и 4+2+1.

_________________
А где наш начальник транспортного цеха?


Вернуться наверх
 
Не в сети
 Заголовок сообщения: Re: Не работает Источник постоянного тока Б5-47
СообщениеДобавлено: Пт ноя 28, 2025 10:04:05 
Опытный кот

Карма: 3
Рейтинг сообщений: 137
Зарегистрирован: Пн июн 07, 2010 22:56:01
Сообщений: 853
Откуда: SU
Рейтинг сообщения: 0
Б5-48 с транзисторами 13007 (ключи) и 2n551 (в модуляторе) запустился и поработал, а потом при включении с нагрузкой в виде ламп испустил дух...

А вот кто виноват сложно сказать... При включении к плате модулятора были подключены ослик и мультиметр, до этого пару раз включал с осликом и мультиметром все работало... Мультиметр был подкючен между Э-К проходного транзистора Т1 на схеме (в этом БП он составной), а ослик к коллектору Т3 на плате модулятора, для наблюдения за работой генератора прямоугольников...
Как итог сдохли оба ключа ...

Походу надо возвращать симметрирующий ПЭВР либо переделывать модулятор под вариант с КТ840, но там засада.. в силовом импульсном трансе добавлено 2 обмотки... а есть ли они у меня, я еще не смотрел...
пока других мыслей нету

с колесиком разобрался, все работает норм... походу лепестки постояли в приборе и приняли нужную форму))) проверил, все цифры пашут ..

Кстати до какой частоты можно разгонять этот БП ? ключи 13007 а АТХ пашут на 30кГц ...


Вернуться наверх
 
Не в сети
 Заголовок сообщения: Re: Не работает Источник постоянного тока Б5-47
СообщениеДобавлено: Пт ноя 28, 2025 10:11:18 
Собутыльник Кота

Карма: 11
Рейтинг сообщений: 50
Зарегистрирован: Вт окт 30, 2007 20:53:15
Сообщений: 2776
Откуда: Россия,Челябинск
Рейтинг сообщения: 0
Коли схема с диодами параллельно ограничительным резисторам и кондерами после них, то нет никаких дополнительных обмоток на импульсном трансе.
Ни до какой - рассчитано на 5 кГц - значит, и будет на ней работать. Для другой частоты понадобится переделка всей импульсной части.

_________________
А где наш начальник транспортного цеха?


Вернуться наверх
 
Не в сети
 Заголовок сообщения: Re: Не работает Источник постоянного тока Б5-47
СообщениеДобавлено: Пт ноя 28, 2025 16:16:16 
Друг Кота
Аватар пользователя

Карма: 50
Рейтинг сообщений: 759
Зарегистрирован: Чт дек 29, 2005 00:18:30
Сообщений: 6577
Откуда: Москва
Рейтинг сообщения: 0
Мне кажется там трансик силовой (что залитый) вообще на пермаллое, поэтому и килогерцы, хотя можно в ТО уточнить. Много раз хотел разобрать залитый модуль но когда их было полно руки не доходили, а потом уже времени и желания не было.

_________________
Ничто так не укрепляет взаимное доверие, как 100% предоплата! Дмитрий, ex-RK3AOR.


Вернуться наверх
 
Не в сети
 Заголовок сообщения: Re: Не работает Источник постоянного тока Б5-47
СообщениеДобавлено: Пт ноя 28, 2025 16:40:13 
Собутыльник Кота

Карма: 11
Рейтинг сообщений: 50
Зарегистрирован: Вт окт 30, 2007 20:53:15
Сообщений: 2776
Откуда: Россия,Челябинск
Рейтинг сообщения: 0
Витой ленточный сердечник, насколько помнится... :dont_know:

_________________
А где наш начальник транспортного цеха?


Вернуться наверх
 
Не в сети
 Заголовок сообщения: Re: Не работает Источник постоянного тока Б5-47
СообщениеДобавлено: Пт ноя 28, 2025 17:05:02 
Опытный кот

Карма: 3
Рейтинг сообщений: 137
Зарегистрирован: Пн июн 07, 2010 22:56:01
Сообщений: 853
Откуда: SU
Рейтинг сообщения: 0
Дмитрий М,
вот параметры транса силового импульсного
смотреть децимальные номера 4.750.012 4.750.013
Изображение

Для этих БП 2 типа децимальных номеров было, одни наверно абовянские, другие из нижнего..

Ryukenden,
у меня этот модулятор больше 4кГц не давал.. время задающий кондер стоял большей емкости и без маркировки... вроде пайка заводская ...


Вернуться наверх
 
Не в сети
 Заголовок сообщения: Re: Не работает Источник постоянного тока Б5-47
СообщениеДобавлено: Пт ноя 28, 2025 17:11:05 
Собутыльник Кота

Карма: 11
Рейтинг сообщений: 50
Зарегистрирован: Вт окт 30, 2007 20:53:15
Сообщений: 2776
Откуда: Россия,Челябинск
Рейтинг сообщения: 0
Ну плюс-минус 1кГц блок не испортит, наверное...

_________________
А где наш начальник транспортного цеха?


Вернуться наверх
 
Не в сети
 Заголовок сообщения: Re: Не работает Источник постоянного тока Б5-47
СообщениеДобавлено: Вс ноя 30, 2025 23:08:52 
Опытный кот

Карма: 3
Рейтинг сообщений: 137
Зарегистрирован: Пн июн 07, 2010 22:56:01
Сообщений: 853
Откуда: SU
Рейтинг сообщения: 0
Думал обойдусь заменой ключей .. но
Второй бабах у меня утащил 13007 2 шт сдох еще кт646а на плате модулятора.. в схеме раскачки ТР1 (транс для управления ключами)
промерил живой кт646, но он походу тоже деградировал, h21=27 у него, 40-200 .. Интеренсо на что их можно заменить из современного ?
вместо Т3 Т4 в генераторе я воткнул 2N5551 ... работают))

посмотрел форму напряжений на базах Т1 Т2, к ТР1 подключены резисторы по 22 Ом, которые стоят около ключей на шасси, сами ключи не подключены..
Изображение
что то меня смущает искажения прямоугольника..


ЗЫ
До меня кто то прибор ремонтировал, заменил ключи и кондеры с3-с6.., интересно, что случилось, что выбило кондеры... хотя они там всего на 10В были по бумагам...

PS #2

Для тестирования генератора прямоугольников (Т1-Т4 , Тр1 ,ТР2) достаточно одного питания 17В и отпаять ногу Д13, запускать генератор можно прикоснувшись рукой к базе Т4 ... после запуска генератора, слышен характерный писк..


Вернуться наверх
 
Не в сети
 Заголовок сообщения: Re: Не работает Источник постоянного тока Б5-47
СообщениеДобавлено: Вс дек 14, 2025 23:06:51 
Опытный кот

Карма: 3
Рейтинг сообщений: 137
Зарегистрирован: Пн июн 07, 2010 22:56:01
Сообщений: 853
Откуда: SU
Рейтинг сообщения: 0
В ходе тестов платы модулятора выяснилось, что в зависимости от количества импульсов пачке меняется потребляемый ток... А стабилизатор на К8 Д14 не пожет поддержать напряжение и оно просаживается, а с просадкой напряжения плывет и частота импульсов генератора на Т3 Т4
В итоге вместо R8 Д14 воткнул L7812. частота генератора перестала плавать...
Входе испытаний снова сдох один из Т1 Т2 (кт646) .. судя по всему был превышен средний или импульсный ток через него...
вместо них воткнул 2n5551 .. схема запустилась без ключей, с ключами еще не тестил...
Интересно а кт646 можно ли заменить на кт815 /кт817 ?

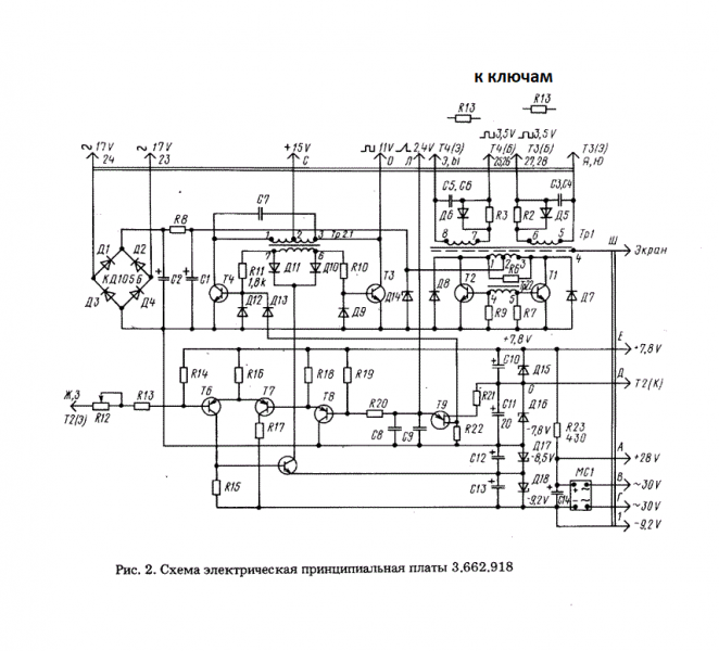
схема модулятора, для справки
Изображение


Вернуться наверх
 
Не в сети
 Заголовок сообщения: Re: Не работает Источник постоянного тока Б5-47
СообщениеДобавлено: Вс дек 14, 2025 23:24:01 
Собутыльник Кота

Карма: 11
Рейтинг сообщений: 50
Зарегистрирован: Вт окт 30, 2007 20:53:15
Сообщений: 2776
Откуда: Россия,Челябинск
Рейтинг сообщения: 0
Мне кажется, вряд ли. Хотя верхняя граничная частота при схеме с общим эмиттером 3 МГц...
До КТ646 ставились КТ608Б.
Кстати, надо 7815 ставить.
И диоды, включённые параллельно Т1 и Т2, целые?

_________________
А где наш начальник транспортного цеха?


Вернуться наверх
 
Показать сообщения за:  Сортировать по:  Вернуться наверх
Начать новую тему Ответить на тему  [ Сообщений: 581 ]     ... , , , 29,  

Часовой пояс: UTC + 3 часа


Кто сейчас на форуме

Сейчас этот форум просматривают: нет зарегистрированных пользователей и гости: 39


Вы не можете начинать темы
Вы не можете отвечать на сообщения
Вы не можете редактировать свои сообщения
Вы не можете удалять свои сообщения
Вы не можете добавлять вложения

Найти:
Перейти:  


Powered by phpBB © 2000, 2002, 2005, 2007 phpBB Group
Русская поддержка phpBB
Extended by Karma MOD © 2007—2012 m157y
Extended by Topic Tags MOD © 2012 m157y