Например TDA7294

Форум РадиоКот • Просмотр темы - Принцип работы включающего механизма радиолы с часами "Рассв
Форум РадиоКот
Здесь можно немножко помяукать :)

Текущее время: Чт дек 18, 2025 11:11:21

Часовой пояс: UTC + 3 часа


ПРЯМО СЕЙЧАС:



Начать новую тему Ответить на тему  [ Сообщений: 2 ] 
Автор Сообщение
Не в сети
 Заголовок сообщения: Принцип работы включающего механизма радиолы с часами "Рассв
СообщениеДобавлено: Чт мар 20, 2025 08:37:25 
Встал на лапы

Зарегистрирован: Пт сен 24, 2021 11:08:34
Сообщений: 98
Рейтинг сообщения: 0
Добрый день.
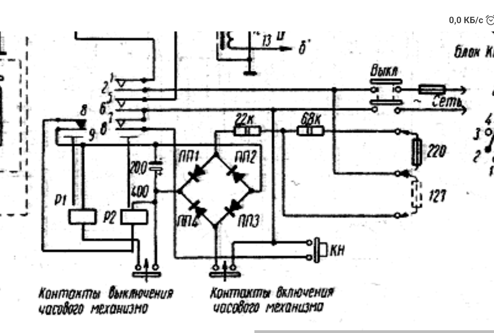
Делаю радиолу Рассвет. Корпус отреставрировал, покрыл лаком, шасси сделал профилактику. Но в изначально отсутствовали часы и механизм включения.
Часы приобрел, а вот механизм найти не удалось...думаю собрать согласно схеме на современных реле.
Идея такая: дежурный блок питания на 5 вольт (в дальнейшем пригодится для питания BT, включается в сеть 220 до силового трансформатора после клавиши сеть. При замыкании контактов часов "включение" подаётся напряжение на двухканальное реле реле, которое стоит в разрыве перед силовым трансформатором. Дополнительная кнопка принудительно замыкает сеть 5в на реле.
Остаётся вопрос: функция кнопки в родной схеме немного отличается, вообще не пойму ее функционал...
Замыкание контактов выключение( в часах) подаёт напряжение на вторую обмотку, которая размыкает цепь включения. Не придется ли ставить второе реле что бы задействовать функцию выключения?
Буду признателен за помощь коллег, кто разобрался в данном вопросе.


Вложения:
IMG_20250320_083507.jpg [243.57 KiB]
Скачиваний: 59
Вернуться наверх
 
Не в сети
 Заголовок сообщения: Re: Принцип работы включающего механизма радиолы с часами "Р
СообщениеДобавлено: Чт мар 20, 2025 20:41:06 
Держит паяльник хвостом
Аватар пользователя

Карма: 16
Рейтинг сообщений: 205
Зарегистрирован: Вс дек 02, 2012 16:58:33
Сообщений: 936
Откуда: от туда
Рейтинг сообщения: 0
Родная схема простая как три копейки.
Реле включения с самоподхватом. Один контакт реле замыкает кнопку включения. Реле остаётся во включённом состоянии после отпускания кнопки или механизма. Остальные два контакта подают питание на радиолу.
Реле выключения нужно для использования кнопки выключения на замыкание. Оно своими нормально замкнутыми контактами разрывает питание обмотки реле включения и обесточивает всю схему. Была бы кнопка на размыкание - не было бы нужно второе реле.


Вернуться наверх
 
Показать сообщения за:  Сортировать по:  Вернуться наверх
Начать новую тему Ответить на тему  [ Сообщений: 2 ] 

Часовой пояс: UTC + 3 часа


Кто сейчас на форуме

Сейчас этот форум просматривают: нет зарегистрированных пользователей и гости: 27


Вы не можете начинать темы
Вы не можете отвечать на сообщения
Вы не можете редактировать свои сообщения
Вы не можете удалять свои сообщения
Вы не можете добавлять вложения

Найти:
Перейти:  


Powered by phpBB © 2000, 2002, 2005, 2007 phpBB Group
Русская поддержка phpBB
Extended by Karma MOD © 2007—2012 m157y
Extended by Topic Tags MOD © 2012 m157y